服務熱線
13325876706
18158317789
18058870135
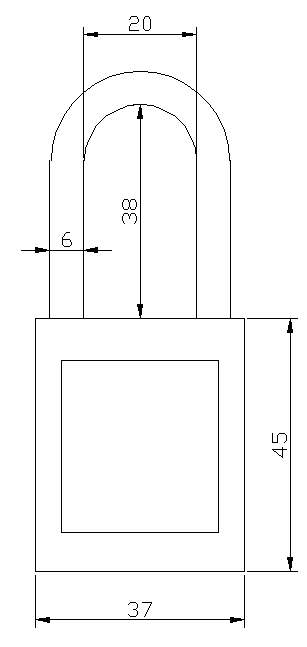
38mm 絕緣梁掛鎖
材料: 加強塑料鎖殼,鋅合金鎖芯,銅鑰匙
描述: 廣泛用于化工,電力,電子等行業,方便攜帶,可復寫警示標語標簽,鎖梁打開狀態下,鑰匙不能轉動。支持貼牌定制,可打激光或定制標簽設計,所有顏色均可定制。
掛鎖鑰匙系統:
1. 不同花系列(KD):每把掛鎖的鑰匙都是唯一的,鎖與鎖之間不能互相打開。
2. 同花系列(KA):指定組內鎖與鎖全部可以互相打開,任意一把鑰匙可以打開組內所有掛鎖
3. 二級管理鑰匙系列(MK):指定組每把掛鎖配有唯一的鑰匙,鎖與鎖之間不能互開,但有一把二級管理鑰匙可以打開組內所有掛鎖。
4. 同花二級管理鑰匙系列(KAMK):指定多組同花系列,組與組之間不能互開。有一把二級管理鑰匙可以打開所有組
5.三級管理鑰匙系列(GMK):指定多組不同花系列,組與組之間不能互開,每組配有一把二級管理鑰匙。另外有一把三級管理鑰匙可以打開
安全鎖具是鎖具的一種,為了確保設備能源被絕對關閉,設備保持在安全狀態。上鎖能預防設備不慎開動,造成傷害或死亡。還有一種目的是起警示作用,比如商城中的滅火器材鎖,區別于鎖具所起一般防盜作用。
安全鎖具的定義:
掛牌上鎖(Lockout/Tagout)簡稱LOTO,概念源于美國。當設備或工具在進行維修、保養或清潔時,與設備相關的動力源被切斷。這樣該設備或工具就不能啟動。同時所有的能源(電源、液壓源、氣源等)被關閉。目的是:確保在機器上工作的工人或相關人員不會受傷。
安全鎖具的作用:
1、停工檢修
2、安全警示
3、防止誤操作
4、鎖定危險源,保證施工人員安全

浙公網安備 33038202003563號